Rivian has filed a patent application for a pass-through charging system that would allow the automaker’s electric trucks to pass current from vehicle to vehicle.
As described in the application, which was published by the United States Patent and Trademark Office (USPTO) June 22 and originally filed in December 2021, pass-through charging could solve the problem of multiple vehicles needing to be charged in a single location where there may not be room for enough chargers.
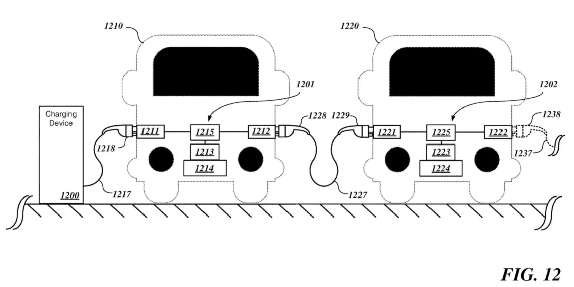
The system would essentially turn electric vehicles into extension cords. One vehicle could plug into both a conventional charger and a second vehicle, which in turn would plug into another vehicle. A switching device would allow power to be sent either to the battery pack, as in conventional charging, or to an output that would pass electricity to another vehicle.

Rivian pass-through charging patent image
This isn’t advised for most current EVs or charging systems, and it might void warranties. But such a system could potentially bypass such concerns.
The patent drawings include Combined Charging Standard (CCS) connectors, indicating AC or DC might be used.
Such a system could be used where space is an issue, such when two vehicles are parked close together in a private garage, or rows of vehicles are parked in a commercial fleet garage, the application states. Using vehicles as a junction or relay would likely be permissible under current standards, which don’t allow actual extension cords to connect chargers and vehicles.
Towing isn’t mentioned in the application, but pass-through charging might add some flexibility there as well, where disconnecting from a trailer to reach a charger would be inconvenient. Rivian, which focuses around more of an outdoorsy lifestyle and the situations it might bring, has shown that it’s thinking these situations out, even though they may never make it to production.

Rivian pass-through charging patent image
Rivian has also filed a patent application for fanned air cooling to help improve fast-charging performance, and it announced the addition of Magic Dock-compatible Superchargers back in March.
To improve accessibility for its customers, Rivian recently committed to the Tesla Supercharger network and its North American Charging Standard (NACS) connector, and acquired A Better Routeplanner to help drivers find chargers. And Rivian is still building its own charging network, with an emphasis on backwoods locations.
Rivian is clearly willing to try different ideas, but the company is also learning that not everything that’s technically possible is a good idea. CEO RJ Scaringe recently explained that the Tank Turn mode first shown way back in December 2019 won’t be added to production vehicles because it tears up trails.




