Ford has applied for a patent on a solid-axle and hub-motor combination for EVs remarkably similar to what the automaker dismissed as nonviable for its F-150 Lightning pickup truck.
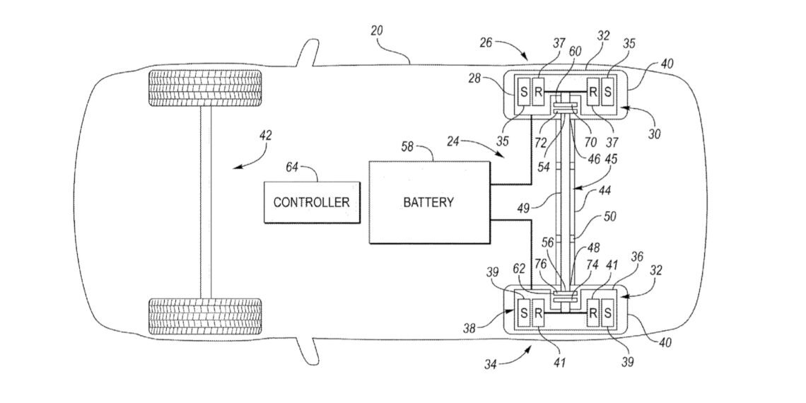
As detailed in the application, which was published by the United States Patent and Trademark Office (USPTO) Feb. 9, a solid axle similar to what is currently used in many current pickups would be teamed with in-hub motors. One hub-motor assembly would be mounted at each wheel, giving the vehicle all-wheel drive.
Clutches would control the distribution of torque, enabling 100% of the torque from one motor to be sent to the other on a given axle if only a single wheel has traction, Ford said in the application, adding that “this may be particularly useful when one wheel is off the ground such as during rock crawling.” It’s also possible to slip both clutches on a given axle, according to the application.

Ford patent image showing a solid axle with EV hub motors
The use of solid axles and reference to rock crawling suggests some kind of truck designed with off-roading in mind. But Ford in 2021 said it had considered, and then nixed, in-wheel motors because of durability issues, owing to the motors’ more exposed outboard position. Performance of friction brakes while towing was also a concern.
This patent application seems to contradict that, and follows the layout championed by Lordstown Motors in its Endurance pickup. The technical layout, which some might see as redundant as it cancels out the packaging elegance of in-wheel hub motors, pairs a solid axle with hub motors. Lordstown delivered the first batch of Endurance trucks in December 2022 following many delays.
Aside from the Endurance, though, efficiency has been the main selling point of hub motors so far. Lightyear claimed that the tech enabled the most efficient production powertrainin the world. Aptera is also using them to achieve what it claims will be 1,000 miles of range in the top version of its EV—with performance to rival sports cars.

Ford patent image showing a solid axle with EV hub motors
Lordstown, Lightyear, and Aptera all use motors from Slovenian company Elaphe, which has been making in-wheel motors for EV makers, with its current generation of the design, since 2018.
McLaren Applied Technologies recently said that it’s developing an “in-wheel propulsion system” using Elaphe motors with the UK company’s inverters for “highly efficient and hyper-responsive electric vehicles.”
Ford’s use of solid axles suggests something more rugged, but perhaps different from the Lightning, an application the automaker deemed hub motors unsuitable for. Or, as is quite often the case with automotive technical patents, it may simply be protecting intellectual property without any firm production plans at all.




